Электромеханическое преобразование энергии в электрических двигателях сопровождается выделением тепла в активных частях машины. Если тепло не будет отводиться от двигателя, то температура изоляции быстро достигнет допустимой для данного класса изоляции и дальнейшая работа электрического двигателя приведет к ускоренному старению изоляции и сокращению срока службы. Для отвода тепла из двигателя предусматривается система охлаждения.
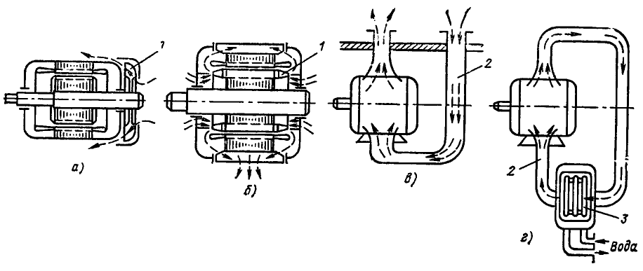
Системы охлаждения электрических двигателей весьма разнообразны (рис.). Различают машины с естественным и искусственным охлаждением.
В зависимости от того, какое вещество применяется в качестве охлаждающего агента, двигатели делятся на: двигатели с воздушным, водородным, масляным и водяным охлаждением.
В зависимости от способа охлаждения различают машины с косвенным охлаждением, когда газ или жидкость непосредственно не соприкасается с проводником, и машины с непосредственным внутренним охлаждением, когда газ или жидкость проходит внутри проводников. В специальных машинах применяется испарительная система охлаждения, когда жидкость испаряется с тепловыделяющих поверхностей машины.

От правильного выбора системы охлаждения зависят габариты и масса машины.
На рисунке “а” показана схема вентиляции закрытой обдуваемой машины с самовентиляцией. Вентилятор 1 укреплен на валу машины.
На рисунке “б” представлена схема продуваемой машины с самовентиляцией. Лопатками вентилятора являются приливы на короткозамыкающих кольцах ротора 1.
машины с разомкнутой нагнетательной независимой системой вентиляции с забором воздуха и выбросом его по трубопроводу 2. Забор воздуха из окружающего пространства осуществляется вентилятором, который вращается двигателем, специально предназначенным осуществлять движение воздуха внутри машины или снаружи ее.
На рисунке “г” дана схема машины с замкнутой независимой системой вентиляции. Здесь воздух или водород охлаждается в газоохладителе 3. Обычно в газоохладитель подастся водопроводная вода, циркулирующая по трубкам газоохладителя, и, таким образом, происходит охлаждение воздуха или водорода.
Процесс передачи тепла от различных частей машины в окружающую среду подчиняется законам теплообмена — учения о самопроизвольных необратимых процессах распространения тепла в пространстве.
Под процессом распространения тепла понимается обмен внутренней энергией между отдельными элементами, областями рассматриваемой среды. Перенос тепла осуществляется тремя основными способами: теплопроводностью, конвекцией и излучением.
Теплопроводностью называется перенос тепла при непосредственном соприкосновении тел или частей тела с различной температурой.
Явление конвекции наблюдается в движущихся жидкостях и газах. Перенос тепла при этом осуществляется за счет перемещения макрообъемов среды в пространстве.
Тепловым излучением называется явление переноса тепла в виде электромагнитных волн с двойным взаимным превращением энергии — тепловой энергии в энергию излучения и обратно.
В действительности элементарные виды теплообмена в чистом виде встречаются редко. Как правило, один вид теплообмена сопровождается другим. Так, конвекция тепла всегда сопровождается теплопроводностью. Совместный процесс переноса тепла конвекцией и теплопроводностью называется конвективным теплообменом.
Часто встречается случай конвективного теплообмена между потоком охлаждающей среды и поверхностью твердого тела. Этот процесс называют конвективной теплоотдачей.
Случай теплообмена между различными средами, разделенными твердой стенкой, принято называть теплопередачей.